Электропривод РОВЕН
Электроприводы регулируют работу приспособлений открывания воздушных заслонок в системах вентиляции. Каждая модель устройства включает в себя качественный зубчатый редуктор и электродвигатель, а также обладает сложной электронной системой регулирования. Небольшие габариты конструкций обеспечивают легкий монтаж в небольшом рабочем пространстве.
Приводы являются оптимальным решением для автоматизации систем вентиляции.
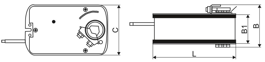
Электроприводы без возвратной пружины
Электропривод без возвратной пружины предназначен для управления воздушными заслонками и клапанами.

|
Модель |
B |
B1 |
C |
L |
L1 |
L2 |
L3 |
L4 |
Размер вала (оси), мм |
Масса, кг |
|
RWE02 |
59 |
- |
66 |
116 |
20,7 |
- |
- |
- |
Ø 6...16 / □ 5х5...12х12 |
<0,5 |
|
RWE05 |
65 |
43 |
84,8 |
145,6 |
31,3 |
36,5 |
124,5 |
165,5 |
Ø 6...16 / □ 8х8...12х12 |
<0,75 |
|
RWE08 / RWE24 |
68 |
50 |
100 |
180 |
35 |
- |
- |
- |
Ø 10...20 / □ 10х10...16х16 |
<1,3 |
Технические характеристики электроприводов
|
Модель |
Номинальное напряжение, В |
Крутящий момент, Н·м* |
Площадь заслонки, м²* |
Потребляемая мощность, при вращении/ в состоянии покоя, Вт |
Рабочая температура, °С |
Время срабатывания, с |
Управление |
|
RWE02-220(H) |
220 |
2 |
<0,5 |
3,0/0,7 |
-30...+50 |
<30 |
2-х/3-х позиционное |
|
RWE02-24(H) |
24 |
3,0/0,5 |
|||||
|
RWE02-24P(H) |
24 |
3,0/0,5 |
Плавная регулировка сигналом 0(2)…10В/ 0(4)-20мА |
||||
|
RWE05-220(H) |
220 |
5 |
<1,2 |
3,0/1,0 |
-30...+50 |
<70 |
2-х/3-х позиционное |
|
RWE05-24P(H) |
24 |
Плавная регулировка сигналом 0(2)…10В/ 0(4)-20мА |
|||||
|
RWE08-220(H) |
220 |
8 |
<1,5 |
4,5/1,0 |
-30...+50 |
<55 |
2-х/3-х позиционное |
|
RWE08-24P(H) |
24 |
Плавная регулировка сигналом 0(2)…10В/ 0(4)-20мА |
|||||
|
RWE24-220(H) |
220 |
24 |
<4,5 |
4,5/1,0 |
-30...+50 |
<160 |
2-х/3-х позиционное |
* Площадь заслонки указана справочно. При выборе электропривода необходимо учитывать также величину необходимого крутящего момента.
Электрические схемы подключения

Электроприводы с возвратной пружиной
Электроприводы разработаны для применения в системах отопления, вентиляции и кондиционирования. Выполняют охранные функции, предназначены, например, для защиты от замораживания.

|
Модель |
B |
B1 |
C |
L |
Размер вала (оси), мм |
Масса, кг |
|
RWF03-220(H), RWF03-220S(H), RWF03-24(H) |
77 |
59 |
87 |
132 |
Ø 6...16 / □ 5х5...12х12 |
<1,3 |
|
RWF05-220(H), RWF05-220S(H), RWF05-24(H) |
84 |
59 |
98 |
156 |
Ø 10...16 / □ 7х7...11х11 |
<1,9 |
|
RWF10-220(H), RWF10-220S(H) |
87,3 |
59 |
100 |
249 |
Ø 8...21 / □ 6х6...15х15 |
<2,3 |
|
RWF20-220(H), RWF20-220S(H) |
<2,6 |
Технические характеристики электроприводов
|
Модель |
Номинальное напряжение, В |
Крутящий момент, Н·м** |
Площадь заслонки, м²** |
Потребляемая мощность, при вращении/ в состоянии покоя, Вт |
Рабочая температура, °С |
Время срабатывания, с |
Управление |
|
RWF03-220(H) |
220 |
3 |
<0,6 |
5,0/3,0 |
-30...+50 |
<75 (пружина <25) |
2-х позиционное |
|
RWF03-220S(H)* |
220 |
||||||
|
RWF03-24(H) |
24 |
||||||
|
RWF05-220(H) |
220 |
5 |
<1,0 |
5,0/3,0 |
-30...+50 |
<70 (пружина <20) |
2-х позиционное |
|
RWF05-220S(H)* |
220 |
||||||
|
RWF05-24(H) |
24 |
||||||
|
RWF10-220(H) |
220 |
10 |
<1,5 |
5,0/3,0 |
-30...+50 |
<100 (пружина <25) |
2-х позиционное |
|
RWF10-220S(H)* |
220 |
||||||
|
RWF20-220(H) |
220 |
20 |
<4,0 |
10,0/3,0 |
-30...+50 |
<180 (пружина <30) |
2-х позиционное |
|
RWF20-220S(H)* |
220 |
* S - 2 фиксированных вспомогательных SPDT выключателя.
** Площадь заслонки указана справочно. При выборе электропривода необходимо учитывать также величину необходимого крутящего момента.
Электрические схемы подключения

Электроприводы без возвратной пружиной для клапанов противопожарных и дымоудаления
Электроприводы без возвратной пружины предназначены для управления противопожарными клапанами и клапанами дымоудаления.
Габаритные размеры электроприводов

|
Модель |
B |
C |
L |
Размер вала, мм |
Масса, кг |
|
RLE10-24S(H) RLE10-220S(H) |
59 |
98 |
156 |
□ 12х12 |
<1,8 |
Технические характеристики электроприводов
|
Модель |
Номинальное напряжение, В |
Крутящий момент, Н·м** |
Площадь заслонки, м²** |
Потребляемая мощность, при вращении/ в состоянии покоя, Вт |
Рабочая температура, °С |
Время срабатывания, с |
Управление |
|
RLE10-24S(H)* |
24 |
10 |
<1,5 |
5,0/0,5 |
-30...+50 |
<45 |
2-х/3-х позиционное |
|
RLE10-220S(H)* |
220 |
* S - 2 фиксированных вспомогательных SPDT выключателя.
** Площадь заслонки указана справочно. При выборе электропривода необходимо учитывать также величину необходимого крутящего момента.
Электрические схемы подключения

Электроприводы с возвратной пружиной для противопожарных клапанов
Электроприводы с возвратной пружиной предназначены для управления противопожарными клапанами. В случае необходимости электропривод возвращается в защитное положение под действием возвратной пружины при отключении электропитания.
Габаритные размеры электроприводов

|
Модель |
B |
C |
L |
Размер вала, мм |
Масса, кг |
|
RLF03-24S(H) RLF03-220S(H) |
59 |
87 |
132 |
□ 12х12 |
<1,3 |
|
RLF05-24S(H) RLF05-220S(H) |
59 |
98 |
156 |
□ 12х12 |
<2,0 |
Технические характеристики электроприводов
|
Модель |
Номинальное напряжение, В |
Крутящий момент, Н·м** |
Площадь заслонки, м²** |
Потребляемая мощность, при вращении/ в состоянии покоя, Вт |
Рабочая температура, °С |
Время срабатывания, с |
Управление |
|
RLF03-24S(H)* |
24 |
3 |
<0,6 |
5,0/3,0 |
-30...+50 |
<75 (пружина <25) |
2-х позиционное |
|
RLF03-220S(H)* |
220 |
||||||
|
RLF05-24S(H)* |
24 |
5 |
<1,0 |
5,0/3,0 |
-30...+50 |
<70 (пружина <20) |
2-х позиционное |
|
RLF05-220S(H)* |
220 |
* S - 2 фиксированных вспомогательных SPDT выключателя.
** Площадь заслонки указана справочно. При выборе электропривода необходимо учитывать также величину необходимого крутящего момента.
Электрические схемы подключения

Не представленные в наличии модели доступны к поставке под заказ
Всю необходимую информацию также можно получить по телефону «горячей линии»
+ 7 800 200 93 96или по телефону
+7 800 505 08 67 получить консультацию